查看: 67|回复: 0

罗永浩,被冻结713万元股权

[复制链接]

8

主题

0

回帖

102

积分

初级会员

积分
102
发表于 2026-1-27 17:13:30 | 显示全部楼层 |阅读模式
据澎湃新闻从国家企业信用信息公示系统网站获悉,1月20日,罗永浩新增一则股权冻结信息,股权所在企业为锤子科技(成都)股份有限公司,冻结股权数额713万余元,冻结期限自2026年1月20日至2029年1月19日,执行法院为北京市丰台区人民法院。

d1.webp
天眼查数据显示,锤子科技(成都)股份有限公司成立于2012年5月,法定代表人为管志良,注册资本约3149.8万人民币,经营范围含基础软件服务、应用软件服务、组织文化艺术交流活动、维修通讯设备、生产手机等。

d2.webp
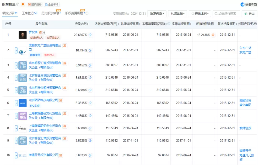
股东信息显示,该公司由罗永浩、成都东方广益投资有限公司、北京明匠汇智投资管理合伙企业(有限合伙)等共同持股。

d3.webp
来源:财联社、澎湃新闻
免责声明:本文由网友发表或转载,不代表宜宾泡菜坛的观点和立场,不对其真实合法性负责.如有异议或侵权,请与本网站联系删除!
回复

使用道具 举报

您需要登录后才可以回帖 登录 | 立即注册

本版积分规则

QQ|手机版|小黑屋|宜宾泡菜坛 ( 蜀ICP备12031032号-6 )|网站地图川公网安备 51030002000201号

GMT+8, 2026-3-16 14:01 , Processed in 0.056141 second(s), 8 queries , Redis On.

Powered by Discuz! X3.5

© 2016-2021 Comsenz Inc.

快速回复 返回顶部 返回列表